0
Đăng tin

Thiết bị xử lý khí thải có sử dụng nước

Thương hiệu: Alex
Mã sản phẩm: Đang cập nhật
Liên hệ
-99%
Quà tặng khuyến mãi
1. Nhập mã MDL300 giảm 300.000đ giá trị đơn hàng
2. Nhập mã MDL500 giảm 500.000đ giá trị đơn hàng
3. Nhập mã MDL1000 giảm 1.000.000đ giá trị đơn hàng
4. Nhập mã MDL1P ( Một trang văn bản tư vấn theo yêu cầu nội dung bất kỳ cho đơn hàng trị giá 80 triệu )
5. Nhập mã MDL1H ( Một giờ tư vấn cùng luật sư khởi nghiệp dành cho đơn hàng trị giá 100 triệu )
Mã giảm giá
MDL300
MDL500
MDL1000

MÔ TẢ SẢN PHẨM

Số bằng : 1-0008666-000

Quốc gia : Việt Nam

Ngày đăng ký : 11.12.2008

Ngày hết hạn : 11.12.2028

Tình trạng : Đang sử dụng

Thương lượng : Thương lượng

 

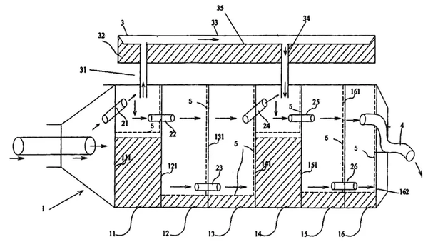
Sáng chế đề cập tới thiết bị xử lý khí thải có sử dụng nước bao gồm bộ phận lọc và két nước, trong đó bộ phận lọc bao gồm khoang thứ nhất được nối thông với khoang chứa khí thải từ ống xả động cơ qua ống thông được bố trí tại phần trên và nằm nghiêng so với vách ngăn, và có chứa nước bên trong khoang; khoang thứ hai được nối thông với khoang thứ nhất qua ống thông được bố trí tại phần trên và vuông góc với vách ngăn; khoang thứ ba được nối thông với khoang thứ hai qua ống thông được bố trí tại phần dưới và vuông góc với vách ngăn; khoang thứ tư được nối thông với khoang thứ ba qua ống thông được bố trí tại phần trên và nằm nghiêng so với vách ngăn, và có chứa nước bên trong khoang; khoang thứ năm được nối thông với khoang thứ tư qua ống thông được bố trí tại phần trên và vuông góc với vách ngăn; khoang thứ sáu được nối thông với khoang thứ năm qua ống thông được bố trí tại phần dưới, vuông góc với vách ngăn; một ống thoát khí được bố trí trên vách ngăn đối diện với vách ngăn; và vỏ bao ngoài có chiều dài tương ứng với chiều dài của bộ phận lọc; và két nước được bố trí bên trên bộ phận lọc và có đường dẫn nước xuống khoang chứa nước của bộ phận lọc.

Sản phẩm cùng phân khúc

Giỏ hàng

Sản phẩm gợi ý

Ghi chú đơn hàng
Xuất hóa đơn công ty
Hẹn giờ nhận hàng
Chọn mã giảm giá